PRODUCTS
- 首頁
- 產品介紹
| d | 180 mm | Shaft diameter |
| a | 840 mm | Length base |
| h1 | 530 mm | 高度 |
| g1 | 360 mm | Total width |
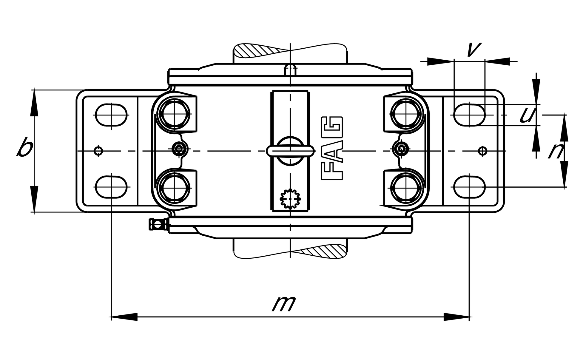
| ≈m | 330 kg | 重量 |
| b | 240 mm | width base |
| c | 90 mm | heigth base |
| D | 380 mm | 外徑 bearing |
| d2 | 190 mm | shaft diameter shoulder |
| d5 | M180X3 | Thread shaft nut |
| g | 260 mm | width 軸承座 body |
| h | 290 mm | center heigth |
| m | 680 mm | 固定內孔距離 |
| n | 130 mm | bore distance width |
| s | M42 | size of fixing screws |
| u | 48 mm | width slot |
| v | 70 mm | length slot |
| w | 108 mm | location collar width |
7.4 l | oil quantity first filling | |
105 mm | maximum heigth oil level | |
80 mm | minimum heigth oil level |
| Tmin | -20 °C | 最低工作溫度 |
| Tmax | 100 °C | 最高操作溫度 |