PRODUCTS
- 首頁
- 產品介紹
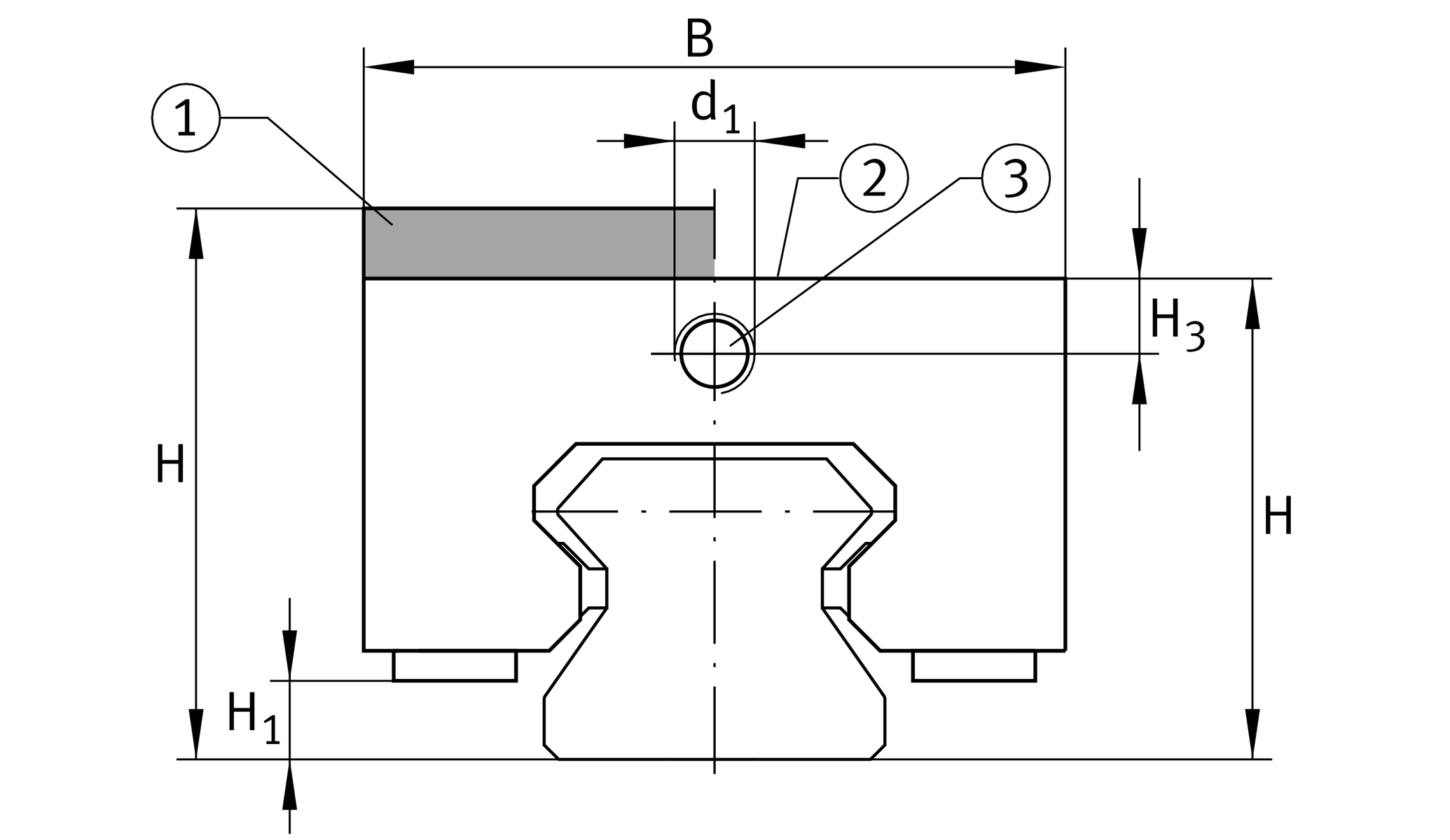
| H | 100 mm | height sytem |
with | adapter plate | |
| B | 125 mm | width of braking and clamping element |
| L | 186 mm | length braking and clamping element |
11,000 N | clamping force 1 | |
| ≈m | 11.88 kg | 重量 |
| JB | 96 mm | hole pattern |
| JC | 96 mm | hole pattern |
| A1 | 22 mm | distance |
| JL | 150 mm | hole pattern |
| C7 | 0 mm | distance |
| H1 | 18.2 mm | space (system) |
| H3 | 17.5 mm | mounting dimension |
| AL2 | 7.5 mm | distance |
| d1 | M16x1,5 | size thread |
| SO | 16x2 | O-ring 2 |
15 mm | max. diameter of the oil feed hole 3 | |
| G2 | M14 | size thread above for DIN ISO 4762-12.9 |
| MA | 229 Nm | tightening torque above 4 |
| Design | H | |
| Oil connector | SO | Oil feed from above |