PRODUCTS
- 首頁
- 產品介紹
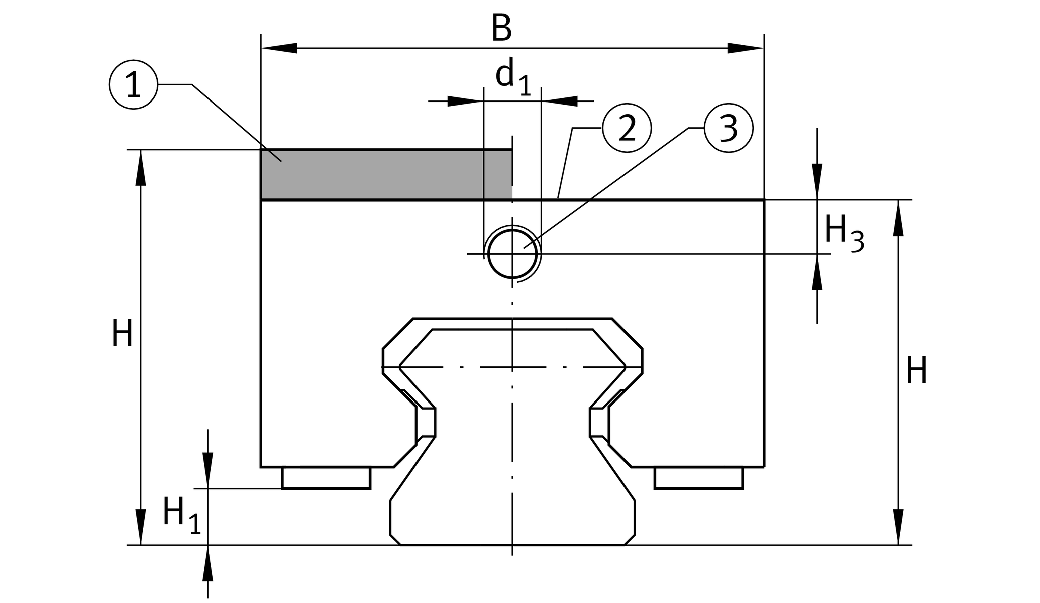
| H | 55 mm | height sytem |
with | adapter plate | |
| B | 69 mm | width of braking and clamping element |
| L | 120 mm | length braking and clamping element |
2,800 N | clamping force 1 | |
| ≈m | 2.03 kg | 重量 |
| JB | 58 mm | hole pattern |
| JC | 48 mm | hole pattern |
| A1 | 13.5 mm | distance |
| JL | 100 mm | hole pattern |
| H1 | 6.6 mm | space (system) |
| H3 | 8.1 mm | mounting dimension |
| AL2 | 5 mm | distance |
| d1 | M8x1 | size thread |
| G2 | M8 | size thread above for DIN ISO 4762-12.9 |
| MA | 42.2 Nm | tightening torque above 2 |
| Size code | 35 | |
| Version | D | |
| Design | H |