PRODUCTS
- 首頁
- 產品介紹
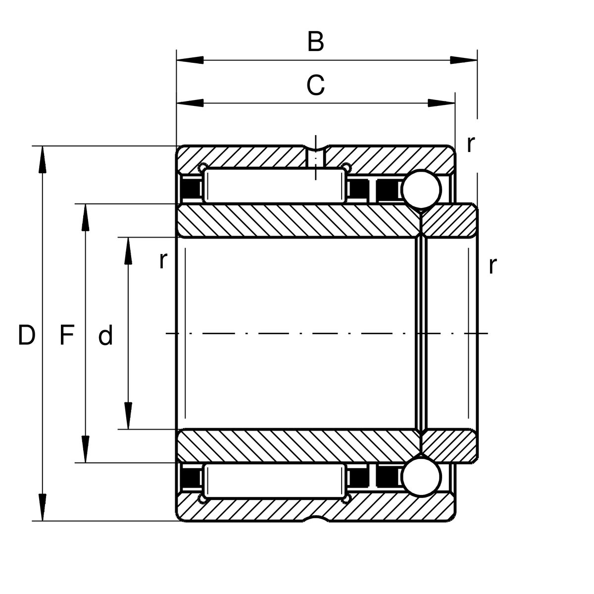
| d | 12 mm | 內徑 |
| D | 24 mm | 外徑 |
| B | 17.5 mm | 寬度 |
| Cr | 8,600 N | 基本額定動載荷,徑向 |
| C0r | 8,300 N | 基本額定靜態負荷,徑向 |
| Ca | 2,700 N | 基本額定動載荷,軸向 |
| C0a | 3,450 N | 基本額定靜態載荷,軸向 |
| Cur | 1,660 N | 疲勞負載極限,徑向 |
| Cua | 157 N | 疲勞負荷極限,軸向 |
| nG | 23,600 1/min | 極限轉速 |
| nϑr | 21,000 1/min | 參考轉速 |
| ≈m | 33.7 g | 重量 |
| F | 16 mm | 內圈滾道直徑 |
| C | 16 mm | 外圈寬度 |
| rmin | 0.3 mm | 最小倒角尺寸 |
| Tmin | -30 °C | 最低工作溫度 |
| Tmax | 120 °C | 最高操作溫度 |